成人黄色在线看Iwww.久久久久I99热在线国产I欧美999I天天天天天天天操I91成人免费看片Iav大全在线看I四川妇女搡bbbb搡bbbb搡
歡迎來到薩震節能空壓機官網!
|
收藏本站
|
網站地圖
|
首頁
螺桿空壓機
無油空壓機
空壓機分類
客戶案例
售后服務
新能源專用
走進薩震
聯系薩震
薩震學院
微油螺桿空壓機
永磁變頻單級螺桿空壓機
永磁變頻油冷一體螺桿空壓機
永磁變頻低壓定制螺桿空壓機
永磁變頻雙級壓縮空壓機
組合式空壓機
高效雙級壓縮螺桿空壓機
工頻單級螺桿壓縮機
無油螺桿空壓機
無油渦旋空壓機
干式雙級無油螺桿空壓機
干式單級無油螺桿空壓機
無油水潤滑單螺桿空壓機
無油水潤滑雙螺桿空壓機
無油螺桿鼓風機
無油離心空壓機
磁懸浮離心鼓風機
磁懸浮離心空壓機
齒輪離心空壓機
空壓機后處理
冷干機
吸干機
儲氣罐
精密過濾器
More
您所在的位置:
主頁
>
行業新聞
>
薩震高性能無油螺桿鼓風機,平均節能30%以上
作者:薩震節能空壓機 來源:未知 日期:2020-04-27 15:09
4 1 吸氣過程:隨著螺桿轉子的旋轉,螺槽容積逐漸增大,空氣被吸入鼓風機機內,直到吸氣口被封閉。
1 2外部壓縮過程:吸氣口已經封閉,排氣口尚未打開,由于螺旋設計,對向旋轉運動使得封閉的螺槽容積越來越小,產生內部壓縮,壓力上升。
2 3排氣過程:隨著轉子繼續旋轉,排氣口打開,已經被壓縮的空氣,排出主機。
4 1 吸氣過程:隨著羅茨鼓風機的旋轉,空氣被 吸入直到吸氣口被封閉。
1 2外部壓縮過程:可以分解為兩個過程,羅茨轉子繼續轉動,封閉空間的體積沒有變化,沒有內部壓縮;直到封閉空間突然暴露給排氣口,管網被壓迫使這部分空氣壓力上升。
2 3排氣過程:隨著羅茨轉子的繼續轉動,將已經升壓的空氣排出的管網。
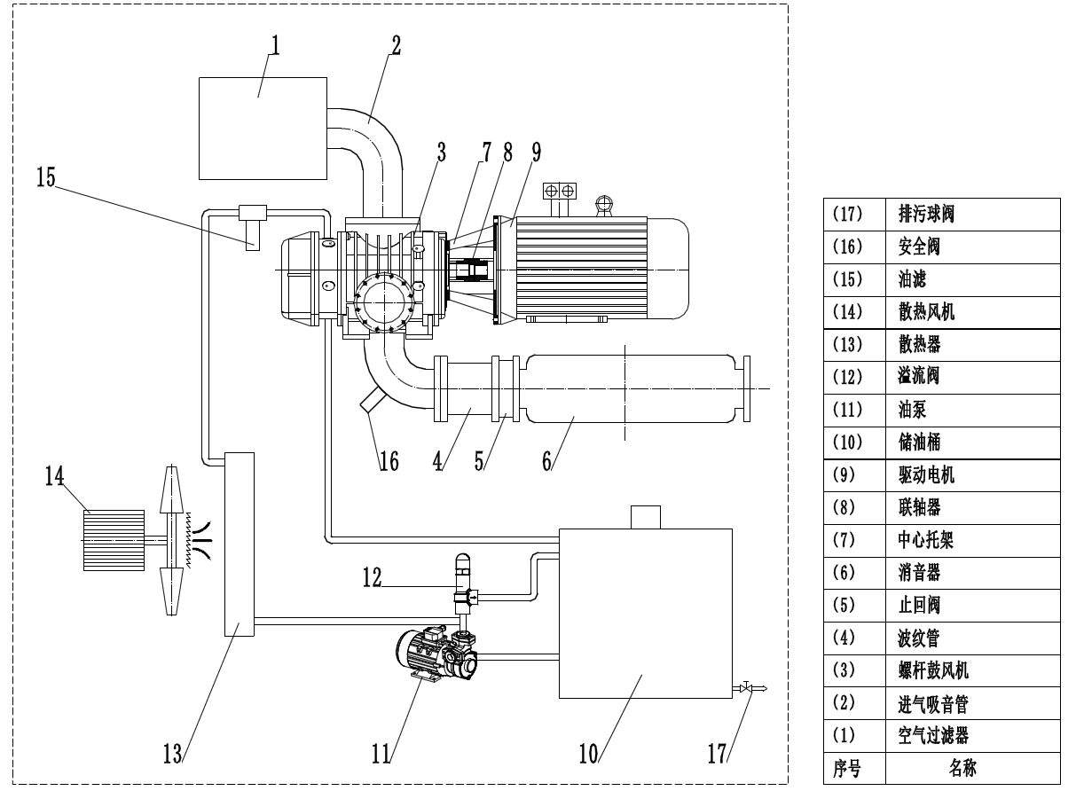
(薩震永磁變頻無油螺桿鼓風機流程圖)
如果有什么問題需要咨詢,請與我們聯系(13524038026)王經理,我們將為您解答無油螺桿鼓風機所需要的相關問題。
上一篇:
薩震永磁變頻無油螺桿鼓風機7大優勢
下一篇:
薩震無油螺桿鼓風機與羅茨風機優勢對比
看了這篇文章的人還看了:
風冷空壓機與水冷空壓機冷卻方式的差
螺桿空壓機配備干燥機和過濾器的重要
空壓機試車中必須先進行空車運轉,再
永磁變頻機存在哪些優勢與特性
空壓機配件如何存放才是正確的
怎么可以買到滿意價位的變頻空壓機?
首頁
節能空壓機
雙級螺桿空壓機
產品中心
空壓機百科
新聞資訊
關于我們
聯系我們
返回頂部